19821311892 13386202197

产品热线:
19821311892
口腔灯阴影测试工装
CSI-Z533
上海程斯
产品介绍
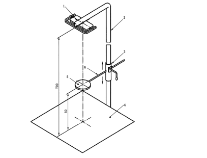
CSI-Z533 口腔灯阴影测试工装
执行标准:
YY/T 1120-2021中7.3.8
技术参数;
圆盘直径:φ 20mm (厚:1mm)
距离测量屏:50mm
测量屏:带直角坐标系
光源距屏:700mm
工装包含柱、调节用滑动环、测试屏、杆

配置清单
工装一套,合格证一份,铭牌一份。

厂家直发 技术支持
购物保障 终生维护
一年内出现质量问题免费维修
客服微信二维码
版权所有 © 上海程斯智能科技 沪ICP备19009154号-13