CSI-Z533 口腔灯阴影测试工装
执行标准:
YY/T 1120-2021中7.3.8
技术参数;
圆盘直径:φ 20mm (厚:1mm)
距离测量屏:50mm
测量屏:带直角坐标系
光源距屏:700mm
工装包含柱、调节用滑动环、测试屏、杆

配置清单
工装一套,合格证一份,铭牌一份。

19821311892 13386202197
新闻资讯
NEWS INFORMATION
联系我们
CONTACT US
电话:19821311892
手机:13386202197
传真:13386202197
邮箱:csizhinengzxl@foxmail.com
地址:上海市松江区洞业路999号
产品动态
日期:2026-04-09 17:23:15
发布人:上海程斯浏览:次
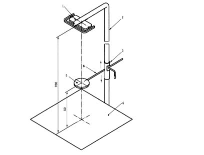
CSI-Z533 口腔灯阴影测试工装
执行标准:
YY/T 1120-2021中7.3.8
技术参数;
圆盘直径:φ 20mm (厚:1mm)
距离测量屏:50mm
测量屏:带直角坐标系
光源距屏:700mm
工装包含柱、调节用滑动环、测试屏、杆

配置清单
工装一套,合格证一份,铭牌一份。

推荐产品
MORE+厂家直发 技术支持
购物保障 终生维护
一年内出现质量问题免费维修
客服微信二维码
版权所有 © 上海程斯智能科技 沪ICP备19009154号-13